?!DOCTYPE html PUBLIC "-//W3C//DTD XHTML 1.0 Transitional//EN" "http://www.w3.org/TR/xhtml1/DTD/xhtml1-transitional.dtd">
名称QSSJB-3QBY)型压盖式限位伸羃接头 标签Q?/strong>SSJB-3QBY)型压盖式限位伸羃接头 产品用途:q泛用于化工、徏{、给水、排水、石沏V轻重工业、冷内R卫生、水暖、消阌Ӏ电力等基础工程?/div> SSJB-3QBY)型压盖式限位伸羃接头是由村֥伸羃接头和两个限位短组合而成。压盖限位~接头能防止道因超量位Ud致补偿接头的泄漏和损坏,压盖限位伸羃接头主要用于在允怽U范围内吸收轴向位移和承受u向压力推? 全国咨询电话Q?em> 18638277136 邮箱Q?em>850165323@qq.com 获取优惠报h 在线咨询Ҏ
SSJB-3QBY)型压盖式限位伸羃接头标准QGB/T12465-2002)或BYQGB/T12465-2007)?/p>
SSJB-3QBY)型压盖式限位伸羃接头是由村֥伸羃接头和两个限位短组合而成。压盖限位~接头能防止道因超量位Ud致补偿接头的泄漏和损坏,压盖限位伸羃接头主要用于在允怽U范围内吸收轴向位移和承受u向压力推力的道村֥q接?/p>
SSJB-3QBY)型压盖式限位伸羃接头的优点:伸羃量大Q安装简单方便,使用寿命长(使用寿命长达10Q?0q_l修方便?/p>
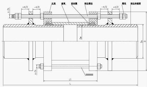
SSJB-3QBY)型压盖式限位伸羃接头的特点:压盖限位伸羃接头道两边以焊接的方式q接?/p>
SSJB-3QBY)型压盖式限位伸羃接头性能特点Q?/strong>
SSJB-3QBY)型压盖式限位伸羃接头是我公司在吸收先辈技术的基础上,l合实际需要研制开发的一U新型管道连接器Q品结构设计合理,密封性能可靠Q两端采用承插连接,安装Q拆卸方ѝ适合q接输送水、a、气及颗_粉状物的钢、铸铁管、球墨铸铁管、PAC、ABS等Q连接的同时能补偿管道的轴向位移及一定量的挠曲和偏心?/p>
SSJB-3QBY)型压盖式限位伸羃接头是在村֥伸羃接头原有基础上,增设限位装置Q在较大伸羃量处用双螺母锁定Q这样就实现道在允许的伸羃量中可以自由伸羃Q一旦超q其较大伸羃量,pv到限位,q样就有效的确保管道的安全q行Q特别适用于有震动或有一定斜度及在拐弯的道中的q接?/p>
SSJB-3QBY)型压盖式限位伸羃接头安装ҎQ压盖限位~接头两边均与管道焊接,压盖限位伸羃接头在安装时村ּ压盖螺母Q调整至安装长度后把两端的短与道焊接Q最后用对角法均匀拧紧螺母Q调整好防脱螺母卛_?nbsp;
SSJB-3QBY)型压盖式限位伸羃接头h良好的综合性能Q所以它q泛用于化工、徏{、给水、排水、石沏V轻重工业、冷内R卫生、水暖、消阌Ӏ电力等基础工程?/p>
SSJB-3QBY)型压盖式限位伸羃接头材料?/strong>
如需最新数据请联系在线客服
VSSJA-1型单法兰限位?/a>
B2F型双法兰村֥限位?/a>
BF单法兰松套限位~接
AY型压盖松套~接?/a>
沛_良众业有限公司 手机P18638277136 Q?371-64018718 传真Q?nbsp;0371-64018718 邮箱Q?50165323@qq.com 地址Qm义市西村镇西?nbsp; |址Q?a href="http://www.hqfof.com.cn" target="_self">http://www.hqfof.com.cn
咨询报hQ?8638277136(陈?
技术指|13849173666(陈工Q?/p>
邮箱Qhnlzpipe@126.com
国内热线Q?371-64018718
地址Qm义市西村镇西?/p>
|址Qhttp://www.hqfof.com.cn
许可证号Q?豫ICP?8020186?/a> 技术支持:良众|络?/p>