?!DOCTYPE html PUBLIC "-//W3C//DTD XHTML 1.0 Transitional//EN" "http://www.w3.org/TR/xhtml1/DTD/xhtml1-transitional.dtd">
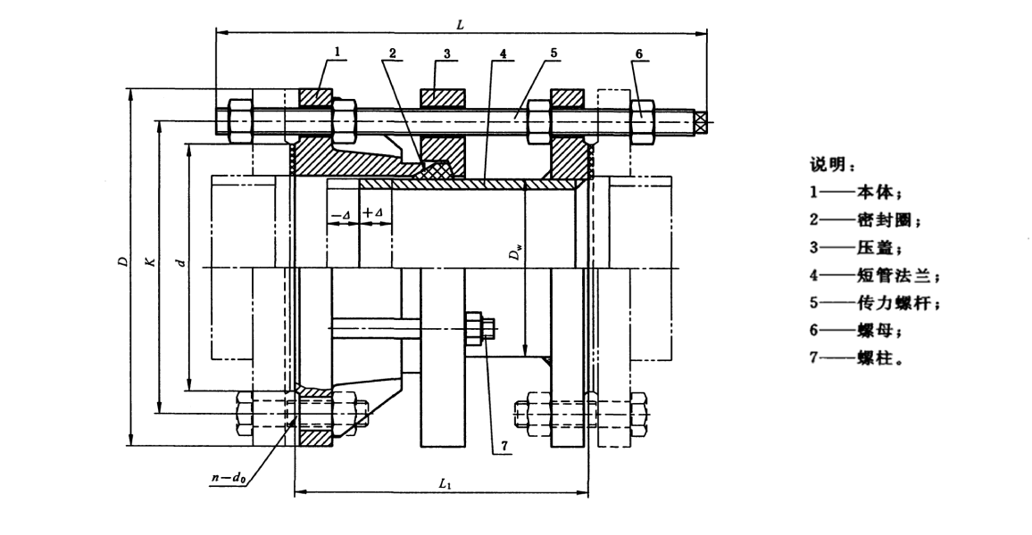
名称QC2F型双法兰村֥传力接头 标签Q?/strong>C2F型双法兰村֥传力接头 产品用途:适用于输送v水、E水、冷热水、饮用水、生zL水、原沏V燃沏V润滑a、成品a、空气、煤气、温度不高于2 C2F型双法兰村֥传力接头Q是由法兰松套~接头和短管法兰、传力螺杆等构gl成Q能降低被连接g的压力推力(盲板力)和补偿管路安装误差,双法兰松套传力接头不能吸收u向位UR双法兰村֥传力接头主要用于c阀门?
双法兰松套传力接头性能特点Q?/strong>
村֥传力接头是在法兰村֥补偿接头的基上增设法兰短及传力螺杆而成Q次cd的补偿接头与村֥补偿接头和松套限位补偿接头不同的是它的补偉K是指在安装及拆卸q程中的调节量,一旦将所有的螺母拧紧Q它是刚性连接的Q可以传递u心力Q从而保护阀门、܇{设备?/p>
双法兰松套传力接头安装说?/strong>
双法兰松套传力接头适用两边都是法兰的连接方式,安装时调节品两端与道或法兰的安装长度Q安装和焊接完毕后,对角依次均匀拧紧压盖螺栓Q其成Z个整体,q有一定的位移量,方便安装l修Q可Ҏ现场寸q行调整。在工作时可以把轴向推力传递至整个道?/p>
村֥传力接头的材质:主要有Q235钢、不锈钢、铸钢、球墨铸铁等。不同的用途选用不同的材质和型号?/p>
村֥传力接头分类有:单发兰松套传力接头、双法兰村֥传力接头、可拆式双法兰松套传力接头?/p>
双法兰松套传力接头适用范围Q?/strong>
双法兰松套传力接头适用于输送v水、E水、冷热水、饮用水、生zL水、原沏V燃沏V润滑a、成品a、空气、煤气、温度不高于250度的蒸汽和颗_粉状等介质?/p>
子外径
Dw
总长
L
安装
寸
L1
调节?span style="color: rgb(255, 255, 255); font-family: 微Y雅黑,Microsoft YaHei; font-size: 20px;">?/span>
质量
kg
如需最新数据请联系在线客服
VSSJAFC/CC2F型不锈钢?/a>
CC2F型可拆式双法兰松?/a>
VSSJAFC型可拆式双法?/a>
VSSJAFG单法C力接?/a>
沛_良众业有限公司 手机P18638277136 Q?371-64018718 传真Q?nbsp;0371-64018718 邮箱Q?50165323@qq.com 地址Qm义市西村镇西?nbsp; |址Q?a href="http://www.hqfof.com.cn" target="_self">http://www.hqfof.com.cn
咨询报hQ?8638277136(陈?
技术指|13849173666(陈工Q?/p>
邮箱Qhnlzpipe@126.com
国内热线Q?371-64018718
地址Qm义市西村镇西?/p>
|址Qhttp://www.hqfof.com.cn
许可证号Q?豫ICP?8020186?/a> 技术支持:良众|络?/p>